四川数十家带“青花椒”店名餐馆被诉!是恶意诉讼还是正当维权?

阅读:372 2022-01-05 15:19:36

近日,有网友在网上发帖称,因为招牌有“青花椒”几个字,四川多家餐馆被上海的一家餐饮公司给起诉了。在该网友发布的帖子中显示,上海一家名为:上海万翠堂餐饮管理有限的公司,在11月、12月起诉了数十家四川省的餐饮店。

 

图片

 

这让人想到不久前发生的逍遥镇胡辣汤、潼关肉夹馍维权事件,国家知识产权局此前明确回应,“逍遥镇”“潼关肉夹馍”无权收加盟费。这次青花椒竟然也“躺枪”了。不同的是,焦点由地名变成了常见调料,更显得离谱。

 

四川是青花椒的生产大省,青花椒也随着川菜的普及传播到全国各地,在老百姓眼里,青花椒就像八角、桂皮、香叶、小茴香等调料一样作为一种植物和它制成的调味料的通用名称,怎么就侵权了呢?

 

图片

 

此事的关键点在于,普普通通的调味料怎么就成了注册商标?注册成功了,权利的边界又在哪里?

 

在国家知识产权局商标局中国商标网上检索可以发现,上海万翠堂餐饮管理有限公司还申请了多个图案字体的“青花椒”商标;此外,还有“金花椒”、“青花椒花椒鱼”、“清花椒”等多个商标。

 

图片

 

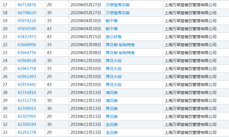
天眼查的统计中,该公司的32条涉诉信息中,有22条与“侵害商标权纠纷”有关,因为该案由被这家公司列为被告的企业涉及全国多个省市,其中有10家在四川,涉及成都、眉山、广安、遂宁等地。

 

不过,根据已公开的裁判文书观察,16起诉讼中有5起是原告公司撤诉,还有两起达成调解,另有两起原告公司胜诉,诉求获得“部分支持”,获赔金额近30万。

 

我国的商标法并不禁止青花椒这样的通用名称跨类别注册,也就是说,如果把“青花椒”放在调料用品类别上进行申请注册,可能会因为通用名称被驳回。

 

但是上海万翠堂餐饮管理有限公司,在其他类别上注册了多个有效商标,而注册商标享有相应合法权益。这并不意味着权利人就能为所欲为,超越合法边界去行使权利。

 

图片

 

更值得关注的是上海万翠堂餐饮公司在商标维权过程中所采取的完全“外包”方式。从去年开始,万翠堂公司和正尚律和知识产权公司合作,由后者全风险代理万翠堂公司的商标、专利等维权诉讼及非诉讼维权业务。

 

在这种“外包”模式下,正尚律和公司多告多得、多赢多得,很容易陷入大撒网起诉模式,即凡是跟“青花椒”沾点边的,就有枣没枣打一竿子,打到就是赚到。如此打法很容易越界,形成过度维权,碰瓷式维权,背离商标维权的初衷,扰乱商标使用管理秩序。

 

此案例又是一次知识产权保护相关法律知识的普及,也是完善法律、堵住漏洞的警示。相关部门要拿出更鲜明的态度,出台更为细致的指引,遏制利用商标进行恶意诉讼的行为。恶意抢注不遏制,恶意诉讼难终止。更要把好源头,还知识产权保护本来面目。

 

相关文章
{{ v.title }}
{{ v.description||(cleanHtml(v.content)).substr(0,100)+'···' }}
你可能感兴趣
推荐阅读 更多>
推荐商标

{{ v.name }}

{{ v.cls }}类

立即购买 联系客服