商标续展太贵!重新注册行不行?

阅读:402 2022-01-05 15:19:36

很多商标权利人,认为商标续展的费用比重新申请贵很多。殊不知,续展只是审查主体资格的形式要件,注册证书申请续展后不用进行实质审查阶段,就可以延长商标专用权10年。

 

1、著名商标不续展

 

2002年1月17日,自然人杜晗向商标局申请注册了第“3070814号“三品王”商标,2003年7月7日被核定使用在第43类住所(旅馆、供膳寄宿处)、餐厅、餐馆、自助餐馆、快餐馆、备办宴席等服务上。2011年4月19日,该商标经商标局核准转让至广西三品王餐饮公司。

 

图片

 

商标经过使用和宣传,已于2010年被认定为广西著名商标,在相关公众中具有较高的知名度,已形成一定的市场格局。然而商标有效期满后却并未续展,导致商标被注销。

 

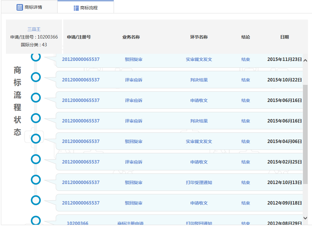
2、另行注册被驳回

 

广西三品王餐饮公司于2011年11月向商标局提出第"10200366号“三品王”商标注册申请,指定使用在第43类餐厅、饭店、快餐馆、酒吧、流动饮食供应等服务上。该商标申请日期早于原商标终止期。

 

2012年8月29日,商标局以该申请与以下引证商标近似为由,驳回该商标申请。驳回时,原商标还未到终止期。

 

 

图片

 

 

3、为续商标猛砸钱

 

广西三品王餐饮公司由于自身原因没有续展原商标,又不甘心失去该商标,于是猛砸钱进行商标复审和商标诉讼。

 

图片

 

申请复审时,同时提交了该公司的网页及各分店的名单、相关公司获得的荣誉和奖励、宣传报道等证据材料。但是商标复审依然驳回申请。诉讼一审依然驳回申请。广西三品王餐饮公司终于走到最后一步——北京高级人民法院二审。

 

最终,北高认定,申请商标与原商标在标志的识别和使用的服务是一致的,在先商标在相关公众中已具有较高的知名度,并与三品王餐饮公司形成特定对应关系及稳定的市场格局。

 

申请商标指定使用在餐厅、饭店、快餐馆、酒吧、流动饮食供应、柜台出租服务上,与三品王餐饮公司形成了一一对应关系,能够与各引证商标相区分,不致引起相关公众对服务来源产生混淆误认。

 

判决:一、撤销原审判决;二、撤销商评委被诉决定;三、商标评审委员会重新作出复审决定。

 

最终广西三品王餐饮公司保住其商标,但耗费了大量的时间、精力和财力,最终也仅是九死一生,涉险过关。

 

图片

 

商标是企业的无形资产,一件商标经过连续十年的使用,期间经过企业广泛的宣传推广,必然是积累了一定的品牌知名度和美誉度。商标续展,恰恰能使得这种商誉得以延续下来。

 

此外,现在成功注册一件商标很不容易,所以,很多人选择购买已经注册的商标,注册年头越长价值越高。注册商标续展之后,即使将来不再使用,还可以把商标转让出去,对于买卖双方而言也是一举两得的事情。

 

相关文章
{{ v.title }}
{{ v.description||(cleanHtml(v.content)).substr(0,100)+'···' }}
你可能感兴趣
推荐阅读 更多>
推荐商标

{{ v.name }}

{{ v.cls }}类

立即购买 联系客服